Patents and Trademarks

Looking to the future

Our AFP team is actively looking for new ways to develop and improve our GC valves. We currently have 10 patents, including our MRVHT, Purge Rotary Valve and our MEA-I mini actuator. Our engineering team also has a roadmap of new products in different stages of development. We are continuously looking for new ways to scale and grow our product line to meet the needs of the Gas Chromatography industry.

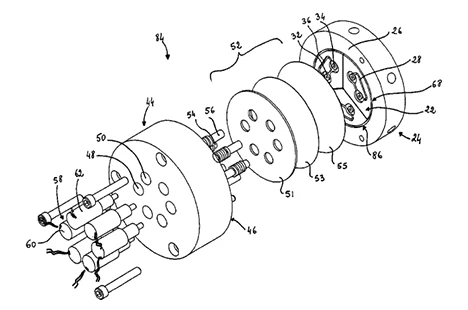
Rotary Valve And Analytical Chromatographic System Using The Same

United States Pat. # 7,503,203

Diaphragm-sealed Valve Having Intermediate Communication Ports

United States Pat # 8,104,506

Diaphragm-sealed Valve With Process Purging Groove

United States Pat # 7,931,043

Diaphragm-sealed Valve, Analytical Chromatographic System And Method Using The Same

United States Pat # 7,216,528

Temperature Compensated Valve For Gas Chromatography

United States Pat. # 8,794,594 / 8,851,452

Diaphragm-sealed Valve With Process Purging Groove & Diaphragm-sealed Valve Having A Locking Mechanism

United States Of America Pat. # 7,931,043 / 8,469,057

Conical Rotary Valve For Chromatographic Applications

United States Pat. # 9,004,449

Improved Fitting Component, Ferrule And Nut

United States Pat. # 8,573,653

Diaphragm-sealed Valve With Improved Actuator Design

United States Pat. # 9,377,444

Improve Plunger Design for Diaphragm Valves

United States Pat. (Patent Pending) 2022/0074504 A1

Back to top